Université d’Antananarivo
Accueil
Thèses
Mémoires
Statistiques
recherche
Connexion
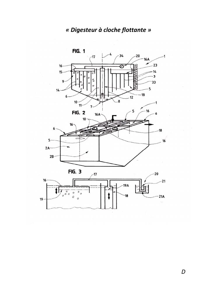
contribution aux valorisations des déchets ménagers en biogaz à usage domestique et de ses résidus en compost et en provende