Université d’Antananarivo
Accueil
Thèses
Mémoires
Statistiques
recherche
Connexion
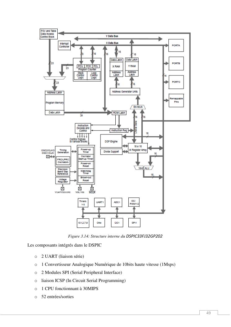
mise en place d'un algorithme de detection d'obstacle par un radar a onde continu