Université d’Antananarivo
Accueil
Thèses
Mémoires
Statistiques
recherche
Connexion
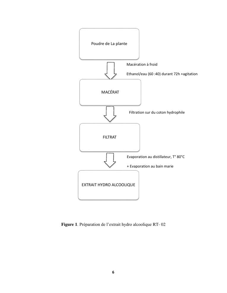
étude de l'activité anti - hypertensive de l'extrait rt-02 chez le rat